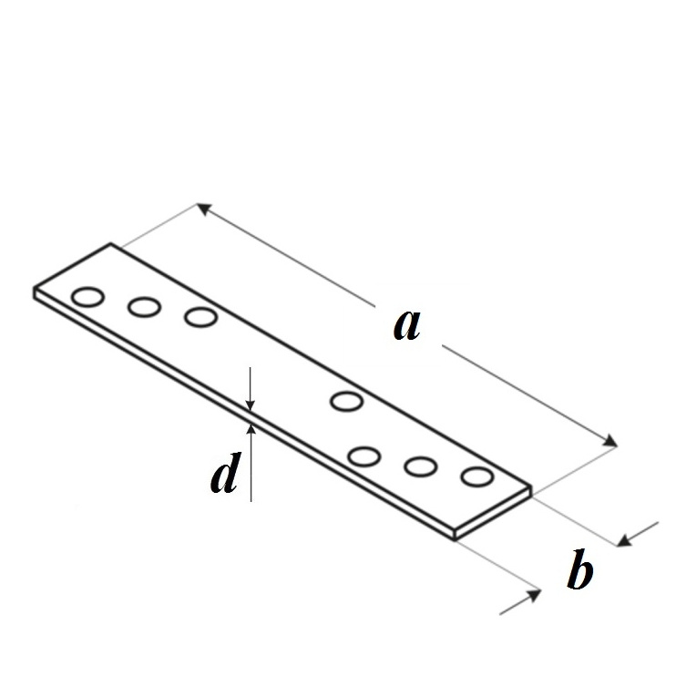
Крепление узкое усиленное 193 x 35 x 5 мм

a, мм 193
b, мм 35
Артикул LG 2
Толщина материала (d), мм 5

Стоимость: 65

Крепление узкое усиленное LG предназначено для надежной фиксации двух и более элементов в стропильно-подстропильной системе при устройстве деревянных конструкций с различными углами наклона при строительстве деревянных домов; их отличительной особенностью является размещение отверстий в рядах, смещенных по отношению друг к другу, благодаря чему гвозди не забиваются между одними и теми же древесными волокнами, что уменьшает риск растрескивания.

Материал - листовая сталь S235 JRG2, гальваническое цинкование с желтой пассивацией